土木在线论坛 \ 建筑结构 \ 钢结构工程 \ 木框架剪力墙结构的使用金属连接件的连接方法

木框架剪力墙结构的使用金属连接件的连接方法

发布于:2024-03-19 15:13:19 来自:建筑结构/钢结构工程 [复制转发]
1.概要

木框架剪力墙结构的连接方法根据节点式样大致分为两种。一种是在传统榫卯加工的蚁型榫头和斜榫头的地方用羽子板金属连接件等金属加固件连接的方式(传统连接方式)。另外一种是不依赖传统的榫头,而利用带槽的构件配合金属连接件连接的方法(金属连接件方式)。两者之间的主要差异如下:
金属连接件工法是指主要采用“金属连接件”取代传统的榫卯或金属加固件连接主要构件的工法,如图1、图2、图3所示,不需要木材之间的复杂加工,只进行钻孔或切口加工,通过连接金属件和辅助用金属加固件形成连接部。由于木材截面缺损少,加工施工精度高,因此可以制作高强度的连接部。

图片

图1  地梁连接

图片

图2  柱脚连接

图片

图3  柱梁连接

2.各部位的金属件连接
一般的框架示例如图4所示。其中,接口和接头部分均可采用金属件连接工法,可分为以下几类:
①地梁连接:一楼地梁板部分的接口使用的金属连接件。二楼以上很少使用水平构件的接口,在与柱子的接头连接处形成柱-梁连接,因此这种金属连接件使用的场合有限。
②柱头-柱脚连接:用于柱的上下端连接部位的金属连接件,如一楼柱脚、一楼柱头、二楼柱脚。水平构件连接的连接部的情况下,与③中使用的水平构件连接用的金属连接件并用的情况也很多。
③柱-水平构件连、水平构件之间的连接部:用于二楼楼板构架及二楼屋架水平的柱-水平构件连接部,或水平构件之间的连接部。

图片

图4  框架示例与金属连接件的主要连接部位
(1)地梁连接
如图5所示,地梁与基础之间连接时用金属连接件和插销连接。

图片

图5  地梁与基础的连接
(2)柱头-柱脚连接
如图6所示,用插销、柱脚连接金属件连接。

图片

图6-a  柱头用连接金属件示例

图片

图6-b  柱脚用连接金属件示例

图片

图6-c  柱头部的连接金属件

图片

图6-d  柱脚用连接金属件
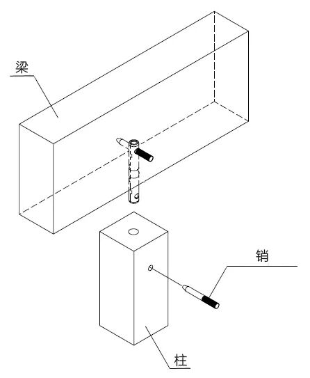
(3)柱-水平构件连接
如图7所示,在固定梁和地梁板等水平构件时,用螺栓将连接金属件紧固在母材一侧(柱和受梁一侧),挂在上面一侧的水平构件用插销连接。图7-a是梁承金属件从三个方向安装在柱子上的示例,相对的梁承金属件采用通用螺栓紧固,正交的梁承金属件可以在螺栓不相关的位置紧固柱子。也可以与前面提到的管状金属件整体使用。图7-b用于水平构件之间的连接。这些金属件根据水平构件的截面尺寸有各种大小,可以选择符合设计的金属件。

图片

图7-a  柱-梁连接金属件示例

图片

图7-b  梁-梁连接金属件示例
3.各种连接金属件
所谓金属连接件工法,如前所述,是指用连接金属件取代传统的榫卯连接的工法,主要是在柱梁连接部和柱头、柱脚连接部使用特别的连接家金属件将框架材相互紧固的工法。但是,在实际的木结构住宅中,很多情况下还同时使用其他各种金属加固件。

表1  住宅使用的各种金属加固件

部位

金属加固

件名称

                  施工图

             特征















柱头柱脚

 








BX-AP

图片





用于加固柱头柱脚的薄板状金属加固件。由于金属加固件的厚度较薄,优点是不妨碍胶合板的打钉施工。





SHV10

图片





用于加固柱脚的金属加固件。根据金属加固件的形状和小螺钉的数量等,存在着各种各样的拉伸耐力的金属加固件。另外,配合连续通铺地板工法的长螺钉型金属加固件也经常被使用。




L-CP-G

图片















柱头柱脚
















PRH-40

图片

图片











与Z标记金属加固件的拉引金属加固件相比,由于宽度较窄,施工更容易,更多的是用小螺钉就能施工的金属加固件类型。开发了各种拉拔耐力的金属加固件,可以根据N值计算的结果选择金属加固件。



搁栅端部




OHB

(小螺钉型)

图片




用于一楼搁栅端部的金属加固件。有固定钉型和固定螺钉型。多与原有接头并用。








各种接口接头












BS

图片

图片

图片









一种条状金属加固件,用于加固原有的接头。根据小螺钉的数量,开发出了各种各样的拉伸耐力的金属加固件。







梁接头




LSB?E2

图片






用于加固小梁端部接头的金属加固件。与以往的毽型金属加固件相比,有的提高了施工性能,有的加强了牵引功能。





HW-CH

图片


水平梁



THB-600

小螺钉型

图片


用作水平梁的替代品。除了小螺钉紧固型,还有螺栓紧固型。


  • 放水发电
    放水发电 沙发

    这份资料不错,支持与鼓励多上传分享给大家

    2024-03-19 15:17:19

    回复 举报
    赞同0

钢结构工程

返回版块

46.51 万条内容 · 1198 人订阅

猜你喜欢

阅读下一篇

一条价值百万级的优化意见——剪力墙纵筋连接方式对成本的影响

 “抠钢筋”费时费力,优化模型墙柱面临着施工图的大改,有没有一条改动量很小,但是成果很明显的优化意见?        干货来了        下面我司分享一条设计院仅仅修改下总说明,即可节省百万造价的优化意见。 下图为我司某项目关于钢筋连接方式的优化意见。 建议:需注明墙柱纵向钢筋12≤d≤22时采用焊接。

回帖成功

经验值 +10